

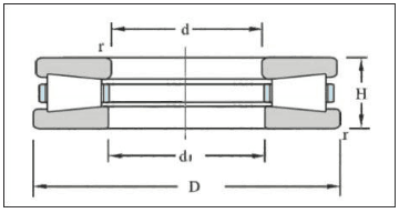
推力滾子軸承屬分離型軸承,此類軸承剛性較大,占用空間極小,可承受較大的軸向負(fù)荷,并對沖擊負(fù)荷敏感度極低.其結(jié)構(gòu)型式可分為推力圓柱滾子軸承、推力圓錐滾子軸承和推力調(diào)心滾子軸承等三種.此類軸承保持器可采用車制實體和鋼板壓制成。
推力圓柱滾子軸承和推力圓錐滾子軸承允許的轉(zhuǎn)速較低,常使用于推力軸承無法使用的場合,而推力調(diào)心滾子軸承既能承受軸向負(fù)荷也可承受徑向負(fù)荷,并可在極重的負(fù)荷場合使用,允許的轉(zhuǎn)速也較高。

在線客服